PS3300
While I am at it, why would you ask how much poly one needs and then point to a PS3300 reissue? Because that’s all the polyphony.
While I am at it, why would you ask how much poly one needs and then point to a PS3300 reissue? Because that’s all the polyphony.
After 4 notes of the same oscs sound that’s about it for poly before Synth mud, maybe five notes with an added doubling bass note, me thinks.
That Korg, and correct me if I’m wrong, can have different sounds happening at the same time. It’s like having three different synths. More in line with what the Moog one was doing.
The muse is (purportedly) bitimbral, so you can throw 1-3 voices to the left for a bass patch; pretty standard stuff for a bitimbral polysynth, really.
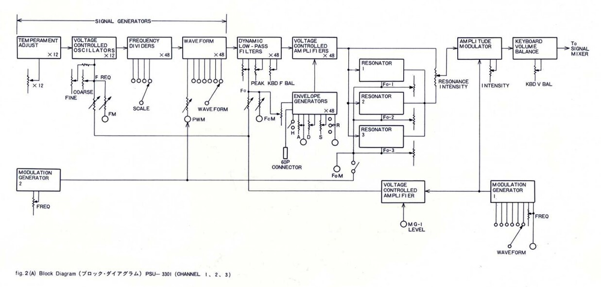
well no. the Korg PS-3300 is “all the polyphony” as @cutlery says because every single key has a dedicated voice card inside the machine. so it’s literally a 49 voice polyphonic synth. and each voice has three oscillators. so there’s 147 oscillators in there. talk about mud (potentially!). you can’t have different sounds going at the same time with it in the same way that multi-timbral synths can (like the Moog One is three part multitimbral, the OB-X8, Rev 2 and Prophet 10 are two part multitimbral, for example). the unique and interesting thing that you can do with the Korg is micro-tune each key. which is maybe what you were thinking of.
edit: the PS-3300 sound itself consists of three different layers. maybe this is also what you were thinking of…? these are not independent though, in the way that a multitimbral synth is (i.e. each sound/patch is on its own midi channel, or addressable via the keys and separated by a keyboard split point). the three layers are all triggered at the same time, with each key press.
There’s a keyboard balance and filter balance control that looks like it can do a fade between layers across the keyboard. Not a hard split but pretty interesting still.
gotcha! I’m no expert on the synth for sure, and I’ve never played one. I’m just trying to explain that it’s kind of a different beast than your typical multi-timbral poly synth.
well shit, looks like I’ll be saving some pennies for the next while. It looks pretty killer to me. A nice blend of retro look and modern features.
Will also be interesting to see how inMusic handles it’s release.
Any thoughts on how many their going to make. Or will it be a limited run?
Yeah, me neither I just read the manual before and thought that was kind of an interesting feature and an early form of a split.
Thought the same! I‘m not a fan of black synths and usually always prefer brighter versions, but I‘ve gotta say this looks really beautiful and so much better than the white synth on that Super bowl, if I recall correctly.
Lol. 4 colored buttons doesnt make it a Jupiter 8.
Looks like a retailer in Norway accidentally leaked the info
Price of Moog Muse was listed as 47380 kroner which translates to around $4300 USD . No word yet on availability.
Ooops I see it was posted already. Either way pretty amped price is reasonable
If that is true im getting two 
At this point a good sound demo is all we need. If I were Moog, I’d have collected several demos (like they have done for some of their instruments in the past, for example the matriarch launch video) and the selected some of the best to edit together.
Wouldnt it be weird if it didnt sound like a Moog 
I think that would be a catastrophic error on Moog’s part.
unless they weren’t planning on launching for another month (which I believe is the case, from the leak yesterday). then they might not have any of that.
Oh, not yet, but whenever they do. That is, I am arguing they ought to release their own demo with their own hand on the tiller, as it were, rather than leave it to the freelancers.
i concur, there’s some stellar demos that eventually came out for the moog one
something like this for the muse is absolutely necessary, if they dropped something of this caliber (which i think is coming, hopefully sooner than later)
rip mr. sakamato! seeing this video and thumbnail always make me a little sad