thats funny , Digitone has compressor and syntakt doesnt 🤦
digitone 1 doesn’t have compressor either and they’re the same os platforms as syntakt
Yes please.
Even the old digitakt has one.
Probably adding a compressor is not so easy due to the presence of an analog FX Block. DT2 and DN2 fully digital. I think that we can not expect a compressor.
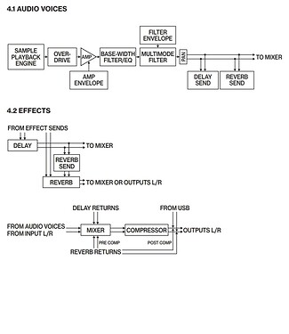
In the Digitakt the compressor is a digital effect at the end of the signal path, after the mixer:
For Syntakt, the analog and digital voices all still go through a main mixer before they are output:
Doesn’t that mean that a compressor could still work at the end of the signal path?
I don’t necessarily think Elektron will be adding a comp to the ST, but I am curious if it’s technically possible. If there’s some specific reason it can’t work, I’d love for someone to explain it ![]()
Am I missing something, or wouldn’t a ST compressor use the analog FX block? You can already use it for sidechaining by dialing in the envelope and sequencing it on the same hits as your kick. I would think the path is least resistance would be automatically linking the sequencer on the FX block to a given track
Yes, and look - in STK scheme main mix is gray maybe its an analogue? Or it has another AD stage for adding FX Block to main mix (this is most likely).
I don’t understand much about this, but considering that in overbridge you have a separate track for FX block and input cant be dual mono like on Digitakt (just mono or stereo) - there may be technical difficulties in implementing the compressor.
Yes, technically Elektron can make everything, but in DIGI line cost matters, it is not a flagship product.
On the other hand with FX track, Syntakt has an amp envelope which you can use “as a compressor”…, if you put triggers where your kicks are and mute the kick together with FX track you get similar results to compression…(With some tweaking of the env hold and release and by sending tracks fo FX block)
It is similar to Analog Heats envelope follower “compression”…
I dont know if there is enough CPU power to run even compressor at the end… But we will see…(Apologies if was confirmed that no COMP on SN…
So any news on this? The syntakt seems to be the only Elektron box that doesn’t have a master compressor available now. Its really the only thing Id like to see… (well maybe also a 3rd LFO like the digitakt/tone 2 both have
)
A4 doesn’t either
I wonder if we will ever see an A4 mk3? ![]()
A4 2 = A8 ![]()
I’m pretty sure the lack of comp on the ST is some way caused by its hybrid nature. If it was an all digital box I’m sure we’d have it by now.
It would require some sort of env follower thing for the FX block to be able to work as an “automatic” compressor. Can they add it in via a FW update? No idea. For now, we need to plock the compression in manually

