There are so many ways to affect sound level on the Digitakt: Trig velocity, Sample level, Amp volume, and Track level. Which one should I plock? Do they have different ranges? effects?
I set out to find out… and did!
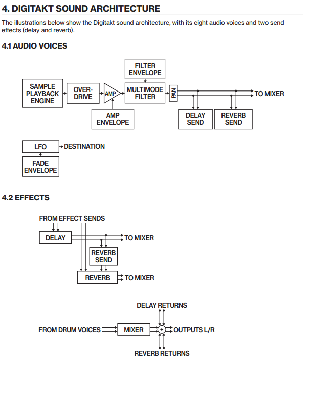
First, the sound architecture diagram in the manual is lacking some detail. Turns out, the gain stages are in the pipeline like this:
- Sample Level & Trig Velocity
- Overdrive
- Amplitude Volume
- Filter
- Track Level
- Pan
- Delay & Reverb Sends
- Mixer
The first gain section is a pair of gain controls: Sample Level and Trig Velocity. These feed the Overdrive. Then come the Amplitude Volume gain section. Since Overdrive is non-linear, it is matters where you modulate gain (sound, plock, and/or LFO): If you do it before Overdrive, you affect the timbre. If you do it after, just the volume.
The difference is often subtle. To hear it clearly, pick a sample like “Anasine”, and set it to loop. Also set Overdirve up all the way. Finally, set trigs 1, 4, & 7, and plock them as follows:
- Trig Velocity 4, Sample Level 100 & Amplitude Volume at 100
- Trig Velocity 100, Sample Level 20 & Amplitude Volume at 100
- Trig Velocity 100, Sample Level 100 & Amplitude Volume at 20
The final sound level will be the same for all three (pretty quiet). The first two will be the same, less Overdrive. The third will have more Overdirve, but be the same volume.
The Track Level comes after the filter stage. Alas, you can’t plock Track Level, so you can’t choose to driving the filter always affects the volume. Note also that Track Level comes before the Delay & Reverb sends, not in the final mixing stage, as I might assumed based on the diagram in the manual.
Lastly, I took a lot of measurements to determine the gain curves of the four gain controls. Three are identical, Sample Level, Amplitude Volume, and Track Level, if you assume a setting of 100 is nominally 0db, then they follow this curve:

Trig Velocity has less effect:

[ These are 40 log₁₀(x/100) and 20 log₁₀(x/100) respectively. Or if you’re thinking in terms of sample processing, the first three each multiply the sample by x²/10000 where as the last multiplies by just x/100. ]
So, if you’re going to plock, you have less range with Trig Velocity than Sample Level… which might be good, or bad, depending on what you want. Also, remember that Sample Level and Amplitude Volume can be set in very fine increments, whereas Trig Velocity and Track Level are only integers.
Hope this satisfies your curiosity!
Edit: Renamed “Master Level” to “Track Level” to match the manual.
Edit: Updated with correct location of “Track Level”, and added a clear way to hear the effect of gain stages on Overdrive.


